稿件来源:高途
高中 | 安培力题目答案及解析如下,仅供参考!
选修3-1
第三章 磁场
3.4 通电导线在磁场中受到的力
安培力
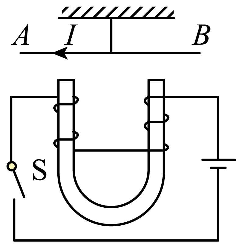
如图所示,将通电直导线$AB$用悬线悬挂在电磁铁的正上方,直导线可自由转动,则接通开关$(\qquad)$

$A$端向上运动,$B$端向下运动,悬线张力不变
","$A$端向下运动,$B$端向上运动,悬线张力不变
","$A$端向纸外运动,$B$端向纸内运动,悬线张力变小
","$A$端向纸内运动,$B$端向纸外运动,悬线张力变大
"]当开关$\rm S$接通时,根据安培定则知电磁铁附近磁感线的分布如下图所示

由左手定则知通电直导线此时$A$端受力指向纸内,$B$端受力指向纸外,故直导线将转动,由特殊位置法知当直导线转到与磁感线垂直(即转过$90^\circ$)时,整个直导线受到的安培力方向竖直向下,故悬线张力变大。
故选:$\rm D$。
高中 | 安培力题目答案及解析(完整版)