稿件来源:高途
高中 | 液晶题目答案及解析如下,仅供参考!
选修3-3
第九章 固体、液体和物态变化
9.2 液体
液晶
分子的热运动
物质是由分子组成的,气体的压强及液体和固体所表现出来的宏观特性可以通过分子的热运动以及分子间的相互作用来解释。
下列说法中正确的有$(\qquad)$
悬浮在液体中的固体分子所做的无规则运动叫做布朗运动
","金属铁有固定的熔点
","液晶的光学性质具有各向异性
","由于液体表面分子间距离小于液体内部分子间的距离,故液体表面存在表面张力
"]$\rm A$.布朗运动是悬浮在液体中的固体小颗粒的无规则运动,不是固体分子的运动,固体分子本身也在做无规则热运动,但不是布朗运动,故$\rm A$错误;
$\rm B$.金属铁是晶体,晶体具有固定的熔点,所以金属铁有固定的熔点,故$\rm B$正确;
$\rm C$.液晶既有液体的流动性,又有晶体的光学各向异性的特点,故$\rm C$正确;
$\rm D$.液体表面分子间距离大于液体内部分子间的距离,分子间作用力表现为引力,所以液体表面存在表面张力,故$\rm D$错误。
故选:$\rm BC$。
一定质量的理想气体,其状态经历$a→b→c$的变化,$p-t$图线如图所示,在该过程中气体体积$(\qquad)$

一直增加
","先增大后不变
","一直减小
","减小后不变
"]根据$\dfrac{pV}{T}=C=\dfrac{pV}{t+ 273.15\text{K}}$
整理以上可得$p=\dfrac{C}{V}(t+273.15\text{K)}$
可知$p − t$图像斜率为$\dfrac{C}{V}$,若为等容变化,则图像为过横轴点$t=-273.15^\circ C$的一条直线,连接图像上的点到该横轴点的连线斜率表示$\dfrac{C}{V}$,结合图像可知从$a→b→c$图像上的点到该横轴点的斜率$\dfrac{C}{V}$均增大,故体积一直减小。
故选:$\rm C$。
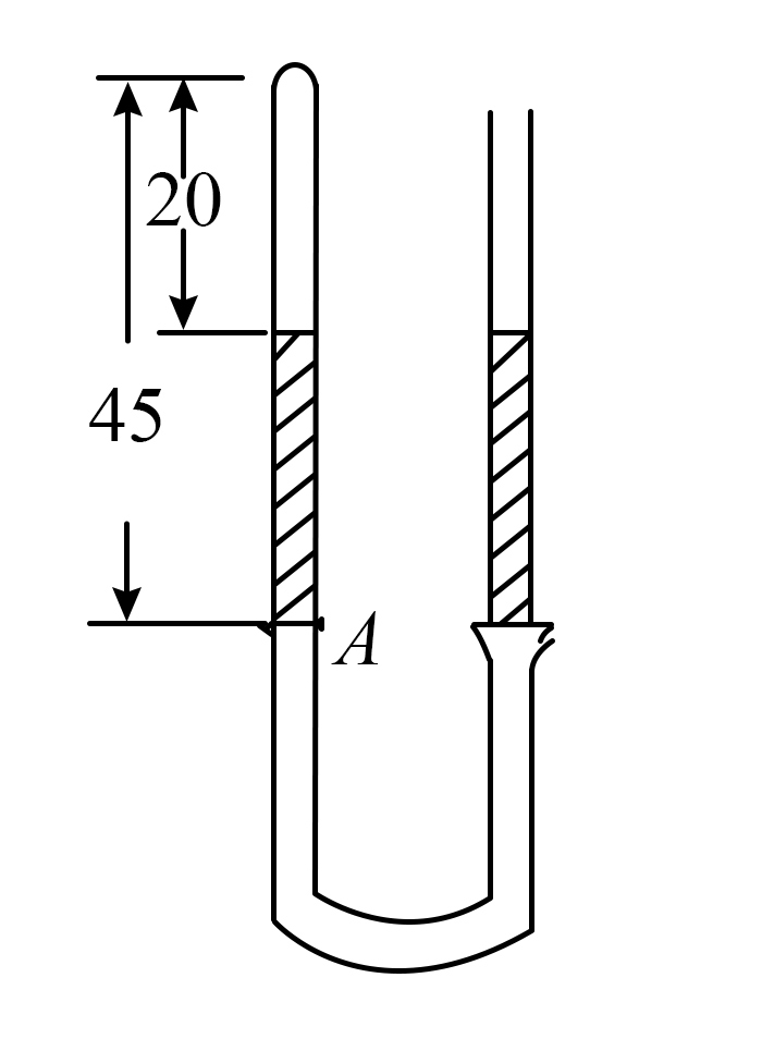
两根直径相同的、粗细均匀的玻璃管,用橡皮管相连接,中间灌有水银,左边玻璃管长$45\;\rm cm$,上端封闭$20\;\rm cm$长的空气柱。右管上端开口,如图。大气压强为$75\;\rm cmHg$,起初两边液面等高,现在固定左管,慢慢改变右管的高度,使左管的空气柱长变为$30\;\rm cm$。此时左管中气体的压强为 $\;\rm cmHg$;右管应在竖直方向向 移动,如果这时$A$处的橡皮管和左边的玻璃管脱开,左面玻璃管中的水银 向外泄漏。(填“会”或“不会”)?

左管气体初态:$p_{1}=p_{0}=75\;\rm cmHg$,$V_{1}=20S$
左管气体初态:$p_{2}$,$V_{2}=30S$
根据玻意耳定律有$p_{1}V_{1}=p_{2}V_{2}$
联立解得$p_{2}=50\;\rm cmHg$
初始两边液面相平,左管气体压强等于大气压强。后来左管气体压强变$50\;\rm cmHg\lt75\;\rm cmHg$(大气压强)。为了达到平衡,右管水银面要低于左管水银面,所以右管应在竖直方向向下移动。
题意可知,左边的玻璃管脱开后,左管气体和液体对管底部产生的压强为$p_{3}=p_{2}+15\;{\rm cmHg}=65\;{\rm cmHg}\lt p_{0}=75\;\rm cmHg$
故左面玻璃管中的水银不会向外泄漏。
高中 | 液晶题目答案及解析(完整版)