高中 | 第2节 特异性免疫 题目答案及解析

稿件来源:高途

高中 | 第2节 特异性免疫题目答案及解析如下,仅供参考!

选择性必修一 稳态与调节

第四章 免疫调节

第2节 特异性免疫

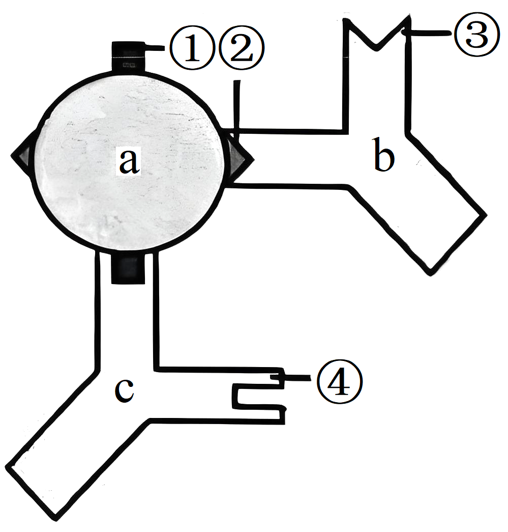
抗原结构根据抗原的大小、性质和免疫原性而有所不同。根据抗原决定簇或表位的分子结构,抗体可以区分不同的抗原。抗原中表位的对应部分是抗体中的互补位。表位和互补位就像锁和钥匙一样相互结合。单个抗原可以结合的抗体数量取决于该抗原中存在的表位数量。相关结构及关系如下图($\rm a$$\rm b$$\rm c$代表三种分子),下列说法正确的是$\rm (\qquad)$

["

图示中属于互补位的结构有共有两处

","

$\\rm \\text{a}$的①结构发生变异,会导致已免疫机体丧失对$\\rm \\text{a}$的特异性免疫

","

抗体足量的情况下,几乎每个$\\rm a$分子都会结合$\\rm 2$$\\rm b$分子、$\\rm 2$$\\rm c$分子

","

不仅$\\rm \\text{b}$$\\rm \\text{c}$可特异性识别$\\rm \\text{a}$,产生$\\rm \\text{b}$$\\rm \\text{c}$的细胞也可以特异性识别$\\rm \\text{a}$

"]
[["C"]]

抗原抗体反应是指抗原与相应抗体之间所发生的特异性结合反应。这种反应既可在机体内进行,也可以在机体外进行。抗原抗体反应的过程是经过一系列的化学和物理变化,包括抗原抗体特异性结合和非特异性促凝聚两个阶段,以及由亲水胶体转为疏水胶体的变化。

$\rm A$、抗原中表位的对应部分是抗体中的互补位,图示中属于互补位的结构共有四处,$\rm A$错误;

$\rm B$、若$\rm a$的①结构发生变异,还有其他的互补位会激活已免疫机体,故不会丧失对$\rm a$的特异性免疫,$\rm B$错误;

$\rm C$、每个抗体上的两臂都可以结合相同抗原,抗体足量的情况下,几乎每个$\rm a$分子都会结合$\rm 2$$\rm b$分子、$\rm 2$$\rm c$分子,$\rm C$正确;

$\rm D$、抗体$\rm b$$\rm c$  可特异性识别 $\rm a$ ,产生 $\rm b$$\rm c$ 的细胞为浆细胞,不能识别抗原,$\rm D$错误。

故选:$\rm C$

高中 | 第2节 特异性免疫题目答案及解析(完整版)

去刷题
今日推荐